Задвижки стальные литые клиновые PN 2,5 МПа - 30с64нж

Задвижка предназначена для установки на трубопроводах в качестве запорного устройства. Корпусные детали задвижек изготавливаются из стали марок: 35Л, 20ГЛ, 12Х18Н9ТЛ, с фланцевым присоединением и под приварку, с ручным управлением (с маховиком, механическим редуктором) или исполнением под электропривод. Класс герметичности «А» по ГОСТ 9544-2005. Срок службы не менее 10 лет. Гарантия 24 месяца
Показатели назначения 30с64нж
- Рабочая среда:
Вода, пар, масло, нефть, природный газ, жидкие неагрессивные нефтепродукты, неагрессивные жидкие и газообразные среды, по отношению к которым, материалы применяемые в задвижке коррозионностойкие - Температура рабочей среды: от -40°С до +450°С
- Условия эксплуатации: У1
- Минимальная температура окружающего воздуха: -40°С
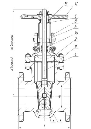
Материальное исполнение 30с64нж
- 1. Корпус: сталь 25Л
- 2. Крышка: сталь 25Л
- 3. Клин (диски): сталь25Л
- 4. Шпиндель: 20Х13
- 5. Гайка шпинделя: латунь ЛС59-1
- 6. Гайка: углеродистая сталь ГОСТ 1050-88 класс прочности не ниже 5 по ГОСТ 1759.5-87
- 7. Шпилька, болт: углеродистая сталь ГОСТ 1050-88 класс прочности не ниже 5.6 по ГОСТ 1759.5-87
- 8. Болт откидной: сталь 35
- 9. Уплотнение между корпусом и крышкой (прокладка, кольцо): паронит, ТРГ
- 10. Набивка сальника: АГИ, ТРГ
- 11. Маховик: сталь25Л
- 14. Наплавка на кольце в корпусе: 07Х25Н13, 08Х21Н10Г6
- 15. Наплавка на клине: 13Х25Т, 10Х17Т
![]() |
![]() |
ПРИНИМАЮТСЯ ЗАКАЗЫ НА ЗАДВИЖКИ С ЦЕЛЬНЫМ КЛИНОМ.
![]() |
Габаритные размеры 30с64нж
| Диаметр, мм | L, мм | D, мм | D1, мм | n | d, мм | H, мм | H1, мм | DO | Масса, кг |
|---|---|---|---|---|---|---|---|---|---|
| 50 | 180 | 160 | 125 | 4 | 18 | 291 | 349 | 160 | 17 |
| 80 | 210 | 195 | 160 | 8 | 18 | 336 | 419 | 160 | 29 |
| 100 | 230 | 230 | 190 | 8 | 22 | 385 | 485 | 210 | 41 |
| 150 | 403 | 300 | 250 | 8 | 26 | 558 | 709 | 320 | 99 |
| 200 | 419 | 360 | 310 | 12 | 26 | 685 | 892 | 320 | 156 |
| 250 | 457 | 425 | 370 | 12 | 30 | 854 | 1110 | 400 | 260 |
| 300 | 500 | 485 | 430 | 16 | 30 | 998 | 1307 | 460 | 335 |


